
对于耐克高尔夫来说,保密工作似乎越来越难了,但从客观上来看,在品牌利益方面,或许这还是个好现象。
三款 Vapor杆型
耐克杆不是本赛季唯一的那种“无论花多少钱都愿意买其技术含量”的杆。当所有的迹象指向三款绝然不同的Vapor 木杆也一点都不奇怪。之前给大家展示过两组图片,分别是固定接驳头的木杆(可能是小容积版的巡回赛/职业杆)和采取“凹背式技术”(cavityback driver technology)的可调节木杆。
我相信这些杆理所当然会具有吸引力,但这3款杆中最有意思的一款就是即将登场的Vapor Flex 木杆,该杆采用独特的凹背技术以及耐克最新的Flex Flight模块。
关于Flex Flight

在我们的观念中,我们可能会认为Flex Flight模块与卡拉威垂直设计的Gravity Core相似。需要注意的是,耐克关于此项设计专利的申请是几年前的事。也许这设计对我们大家都很新鲜,但Swoosh团队又重申了此观点。
下面这幅耐克的专利草图与我们今天所要看的并非百分百相同,但却非常相似。这是不可否认的。

从技术上来看, Flex Flight模块可翻转,15克重,可使得杆头重心位置前后移动2毫米。这相当于1°杆面角的变化以及大约300RPM转速的改变。在视频中没有谈及的是,将模块移向杆头尾端时,在增大MOI(转动惯量)的同时,还增大了起飞角和球的转速。

在一段技术视频中,耐克高尔夫工程设计总监Nate Radcliffe(上图并非Nate)解释道,水平方向上移动重心位置可同时改变挥杆轨迹和球道轨迹,200RPM转速的区别可以突破你的舒坦区。 虽然Flex Flight本身并非全面的装配方案,但可对木杆起到优化作用。
不像卡拉威的Gravity Core那样,Flex Flight模块固定在杆头上,且没有罩。虽然是个不起眼的小装置,但却节省了不少重量,对打球非常有帮助。
RZN 杆顶弧

在未来几周我将继续探讨其细节,而我最喜欢的就是耐克将于2015年生产系列杆的整体聚合性。Volt是目前系列,内含耐克RZN材料。
有人认为耐克就是Volt,也有人认为耐克就是RZN。这两种观点在未来几个月见分晓。
RZN作为杆顶弧技术的卖点在于其重量比钛还轻,但却有着相似的强度,而RZN却没有那么坚硬,这就意味着能有更多调整重量分布的自由,并且能塑造出钛金属所不能铸出的形态。

与顶弧技术相关的是内嵌式肋柱。在功能上,它起到对杆头各个方向上力度的加强作用,这就是耐克所宣称的能使能量向前方传递。如果一定要有个对比的话,我想这和泰勒梅的重心前置设计差不了多少。其理论上的优势在于,如果真能像广告中宣称的那样,它就可以不需要减少动态杆面角或牺牲MOI来完成同样的任务。
加速沟槽回归

在耐克专注于凹背技术时(Covert系列杆将此项技术发扬光大),杆头槽孔技术(slot technology)曾销声匿迹了一段时间。然而,在新的Vapor系列杆上,又再次运用到了加速沟槽的制作技术。
如果有人要拿USGA的CT/COR测试说事,请理解最新版杆头的设计。总的来说,其杆面设计是为了提升非中心杆面击球的球速。这点我们在之前也有讲过。
USGA的 CT测试只局限于杆面中心。如果你能够保持非杆面中心击球的球速,你就可以提升击球的平均速度(因为没有人可以每次都能够甜蜜点击球)。简单来说,就是为了最大化地实现能量转移。
Flex Loft 2.0

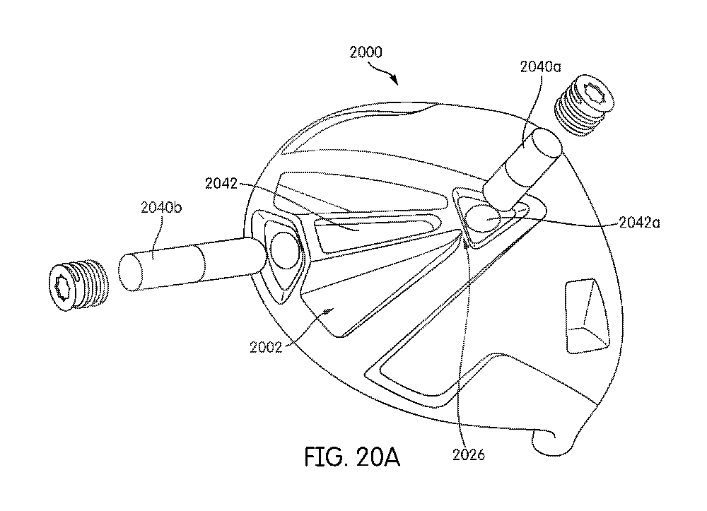
最后,耐克为2015年的新杆对Flex Loft杆面角调节器进行了微调和改良。最新的2.0版有着相同的性能参数(4°杆面角,左,中,右),但总重量却减少了5.5克。这为杆头新增其它有用的重量提供了大量的余地,但杆头接驳头不包括在内。
难怪有人说耐克的接驳器还是太大了,但不得不说这是朝正确方向上迈进的一步。因为新改进的系统完全与原版杆身兼容(你之前的Covert杆身与该新杆头兼容)。
其它
我们没有获得关于售价的信息,也不知道配备的杆身信息。实际上,我们所知道仅仅就是上文所说的那些而已。任何关于木杆相关的问题,耐克均给予一个礼貌且官方的回答:“无可奉告”。但根据信息在外界泄露的速度来看,相信不久就可获得更多“私密”消息。
虽然我确信耐克喜欢将一切都保密,但这批新杆要比之前所发行的系列都更具有重要性。就不知道销售情况如何,我目前不作预测。
你也可以畅所欲言,谈谈你想要的Volt球杆。