福利!耐克NIKE可调节角度铁杆专利图泄露

2015-05-14

 

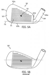
   虽然还未有任何实物出现,官方也未有任何消息,但我们还是被这款adjustable铁杆吸引住了,先看图:

 

 

 

 

  相信要点你已经get到了,杆颈和杆头不再是一个完整的部分,杆颈作为一个独立旋转的系统加入了杆头组件中。

  图片来源于编号20150111659,冠名“Golf Clubs and Golf Club Heads”的申请书。

 

 

  还有木杆版本的:

 

 

  这会是一种全新的球杆调节系统吗?

  亦或者…高尔夫真的走到了需要激进产品刺激市场的那个处境…

浏览:
友情链接
Copyright © www.holf.cn , 2014 holf All rights reserved